图像处理的外围设备:LED 视觉系统配件 CA-D 系列

低角度光源低角度照射来强调边缘的低角度光源
CA-DLR

应用
表面 / 边缘缺口
一般来说,表面和边缘的缺陷很难用标准照明检测,因为对比度变化较小。低角度光源突出了工件的物理变化,继而实现了检测。

低角度照明技术
低角度光源在很小的角度上将光线直接照射到工件上。通常检测工件的边缘或表面上的瑕疵对于标准的直接照明都很困难。由于光的方向几乎与表面平行,表面高度的各种变化都会改变到相机的光路,从而突出变化。
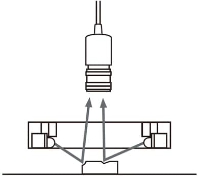
相机 / 光源安装图

应用
有缺口的边缘
标准照明下

低角度照明下

不均匀的瓶口
标准照明下

低角度照明下

